- Architektenteam Manor Biel & Gebert Architekten Gm
Manor Store AG
A eficácia energética e qualidade arquitetónica formam uma simbiose perfeita no novo edifício Manor em Biel (Bienne), Suíça. O edifício, que alberga os armazéns Manor, escritórios e residências, tinha de estar à altura do importante local onde se situa, a praça Zentralplatz.
O edifício Manor estende-se desde a Unterer Quai e a casa de saúde Centre Rochat de um lado da praça, através da Nidaugasse e da zona pedonal, até à Plänkestrasse do lado oposto – e adapta-se ao meio envolvente com as suas duas fachadas completamente diferentes. Do lado da Unterer Quai, os arquitetos desenharam a fachada para que esta se coadunasse com os edifícios vizinhos - vidro e pedra natural em proporções bem equilibradas, juntamente com uma linguagem arquitetónica moderna que resultam num aspeto reconhecível.

A fachada de vidro escurecido reflete os edifícios circundantes
Do outro lado da praça, com a sua zona pedonal e ruas laterais, a fachada composta inteiramente por vidro escuro oferece um novo contraste à cidade. As zonas rebaixadas no piso superior podem parecer misteriosas mas são facilmente explicáveis devido à multiplicidade de usos do edifício. A loja, os escritórios, os apartamentos, as residências para seniores, o pátio comum com jardim e o parque de estacionamento subterrâneo com uma capacidade para 205 automóveis e 235 motociclos e bicicletas formam uma estrutura única que simplesmente nunca tinha sido vista na arquitetura de lojas. O revestimento do edifício é constituído por painéis de betão revestidos verticalmente a vidro que dão ao edifício um aspeto sólido, e por faixas de vidro aplicadas horizontalmente. Sobrepostas a esta ideia, encontram-se as grandes montras da loja no piso térreo, janelas um pouco mais estreitas nos andares superiores e as estreitas gelosias na zona de escritórios e nas áreas residenciais. A fachada de vidro escuro reflete os edifícios circundantes, mas os visitantes da loja conseguem facilmente olhar para o exterior enquanto passeiam pela loja – o que é pouco habitual, uma vez que normalmente se evita que a vista do exterior ‘distraia’ a atenção dos compradores na loja.
ELEGÂNCIA
Os perfis da fachada dupla são anodizados a preto, o que contribui para o aspeto homogéneo e elegante do revestimento. Os painéis de vidro são formados por uma placa única de 12 mm de espessura, uma caixa de ar de 184 mm de espessu-ra com cortinas de tecido e uma camada interior com vidro duplo (IV). As vedações em borracha foram especialmente concebidas para enquadrar os painéis. Os painéis de betão são cobertos com uma camada de isolamento em vez de vidro triplo, que por sua vez possui um revestimento protetor com uma camada de 22 mm de espessura de Peraluman anodizado preto, uma liga de alumínio extremamente resistente à corrosão. Os mesmos painéis de vidro com painel exterior único utilizados na fachada de vidro, também foram aqui utilizados, com intervalos de cerca de 185 mm.
CONCEITO DE BAIXA ENERGIA
O edifício tem um ótimo desempenho energético graças ao alto nível de isolamento térmico do sistema CS 86-HI da fachada ventilada com proteção solar integrada. O edifício Manor utiliza a água subterrânea para refrigeração do edifício durante a maior parte do ano – as principais fontes de acumulação de calor são a luz artificial e as pessoas – e para recuperação de calor nos dois meses de inverno mais frios. Isto significa que não existe necessidade de utilização de combustíveis fósseis para a gestão de energia. O novo edifício da Manor estabelece um padrão para a arquitetura da empresa, completando assim o mote da Manor, ‘Donnons du style à la vie’ (Damos estilo à vida). Para além disso, este tipo de arquitetura demonstra como conceitos de baixa energia podem ser integrados na arquitetura contemporânea sem comprometer o aspeto estético do edifício. A arquitetura sublinha a síntese entre a transparência e a eficácia em termos energéticos que pode ser conseguida com os sistemas Reynaers.

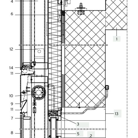
CS 86-HI façade solution; vertical section with integrated sun blinds
Project solution
- Special development CS 86-HI for façade solution
- 510 elements
- Fixed on a reinforced concrete structure supported by solid piles
- Special attention for the non-supported overhanging building corners
- On top, the air space is ventilated through a horizontal continuous opening in the roof edges. In this way both overheating and condensation are avoided
- Visible aluminium parts are anodized in Colinal black
Inner scale (frame):
- Double insulated glazing
- Uf = 1.8 W/m²K
Air space:
- 170 mm wide with integrated woven sunscreening, motorized via a building management system
Outer scale (vent):
- Glazing: Structural glazed 12 mm, transparent
Element dimensions:
- Width: min. 1000 mm, max. 2000 mm
- Height: min. 3000 mm, max. 4500 mm
- Build-in depth: 250 mm
- Between 400 – 800 kg per element
Parceiros envolvidos
Architect
- Architektenteam Manor Biel & Gebert Architekten Gm
Fabricator
- Hartmann & Co. AG
Fotógrafo
- Hannes Henz, Zürich
Outros parceiros
- Pensionskasse des Bundes PUBLICA (Investors)
- Manor AG, Basel (General contractors)
- Ursula Baus (Authors)